Nintendo has remained largely silent on its plans for its next console, codenamed NX, since the system was casually announced earlier this year. A newly published patent application from Nintendo, first filed in June, shows off one possible design: an innovative handheld that tightly integrates embedded analog sticks with a surrounding oval touchscreen that reaches to the very edge of the device.
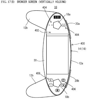
Unlike the Wii U or the DS portables—which have small rectangular touchscreens placed between more traditional button-based controls on each side— the patent shows an elliptical touchscreen that dominates almost the entire front surface of the device, smartphone-style. The only break in that surface is two small holes on either side for “operation sticks” (read: analog thumbsticks) that extend deep into the controller. The tops of these clickable sticks sit nearly flush with the screen, letting players move their thumbs smoothly from analog controls to the touchscreen directly adjacent. (The patent also suggests the possibility of a 3DS-style parallax barrier display that allows for “stereoscopic view with naked eyes”).
Other similar cutouts from the touchscreen surface could be included for buttons, “cross buttons,” (read: d-pads), jog dials, etc., according to the patent, and shoulder buttons allow for further, traditional tactile input. The key is that all of these traditional controls would be embedded directly “within” the touchscreen via holes in the surface, rather than sitting off to the side in a separate plastic housing, as with existing Nintendo hardware.
“A higher feeling of immersion…”
The patent suggests a few uses for this tight melding of physical controls and touchscreen display. Virtual buttons could be placed on the touchscreen right next to the thumbpads, for example, providing context-sensitive inputs that change throughout the game. In-game items might be used simply by touching them, or music notes could fall directly into the thumbstick areas in a music game.

Loading comments...